UNIOR KIESZONKOWA CENTROWNICA DO KÓŁ ROWEROWYCH
UNIOR KIESZONKOWA CENTROWNICA DO KÓŁ ROWEROWYCH
UNIOR jest wiodącym producentem narzędzi rowerowych na świecie. Narzędzia TEJ marki produkowane są z wysokiej jakości materiałów zgodnie z europejskimi i światowymi standardami jakości między innymi ISO 9001. Wysoka jakość materiałów z których wykonywane są narzędzia, gwarantuje wydłużoną ich żywotność, natomiast ergonomiczny kształt zapewnia komfortową i bezpieczną pracę narzędzia. Firma UNIOR bierze czynny udział w świecie sportów rowerowych o czym świadczy partnerstwo między innymi w czołowych zespołach kolarskich. Narzędzia dedykowane są dla profesjonalnych serwisów rowerowych jak i użytkowników indywidualnych.
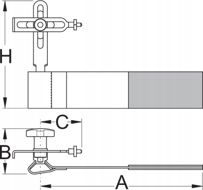
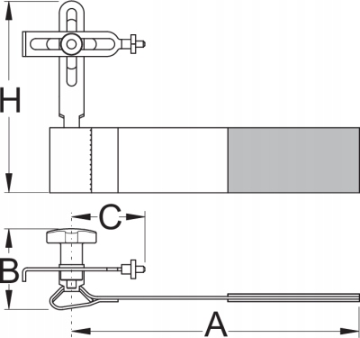
- Amatorzy, mechanicy zespołów rowerowych, podróżnicy i wielu innych rowerzystów może używać kieszonkowej centrownicy Unior 1753/6 gdy tylko zajdzie potrzeba. Z taśmą z rzepem narzędzie może być przymocowane do każdego widelca z przodu i każdej ramy z tyłu roweru.
- Czujnik jest wtedy normalnie używany jak w stojącej centrownicy. Narzędzie może być również użyte do sprawdzenia zębatki.
- 1753/6 kieszonkowa centrownica jest mała, lekka i łatwo zmieścić ją w małym plecaku.
Marka
Kod producenta
3838909233109
Stan
Nowy
Marka
Unior
Kod producenta
5906479601272
Model
1753/6
Przeznaczenie
do centrowania kół
Waga produktu z opakowaniem jednostkowym
0.25
EAN
3838909233109
Zapytaj o produkt
Napisz swoją opinię












